据企查查App,1月15日,深圳市宝能投资集团有限公司(以下简称“宝能集团”)、姚振华等新增两则恢复执行信息,执行标的13.4亿余元,执行法院为四川省成都市中级人民法院。其中一则执行标的约11亿余元,另一则执行标的约2.46亿元。

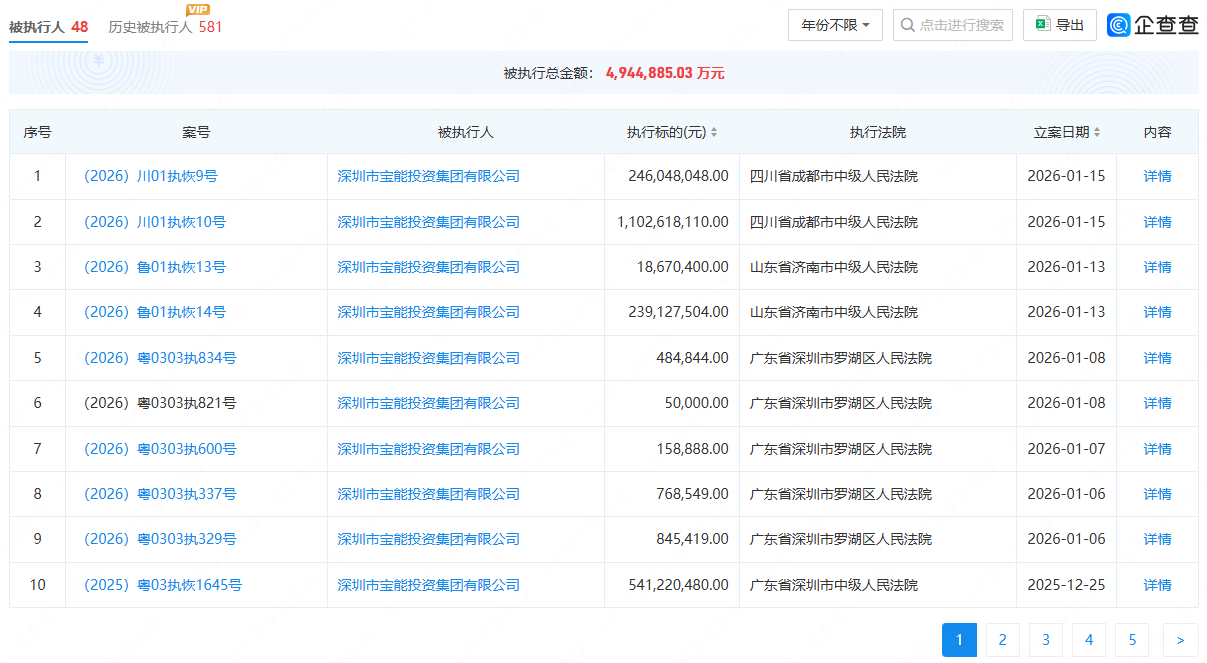
然而,这只是宝能集团庞大债务链的冰山一角。截至目前,宝能集团现存48条被执行人信息,被执行总金额达494.49亿元;失信被执行人的信息也有48条,涉案总金额12.05亿元;还有344条终本案件,执行标的总金额约292.35亿元,未履行总金额242.34亿元。此外,该公司还有425条限制高消费信息,涉案总金额达465.90亿元。
宝能集团成立于2000年,以房地产和金融业务起家,法定代表人及实际控制人为姚振华。公司注册资本3亿元,姚振华个人持股99.99%。公司经营范围包括投资兴办实业、投资文化旅游产业、经营进出口业务等。

1月14日,姚振华作为宝能集团董事长、观致汽车实控人,通过“中国宝能”公众号发布实名举报视频,并在公司官网发布举报公告,向最高人民法院、江苏省高级人民法院举报。

据报道,对于姚振华的指控,常熟市委宣传部相关负责人于1月15日下午向媒体回应称,姚振华在视频中提到的涉及常熟市人民法院及常熟经开区的指控均不属实。
1月16日,京东资产交易平台显示,姚振华所举报的观致汽车常熟工厂二次拍卖已流拍。这场拍卖起拍价为8.596亿元,保证金1.719亿元,尽管吸引了超6万人次围观,但仅1人报名,无人出价。值得注意的是,此次二拍起拍价已较第一次拍卖价格打了八折。

观致汽车品牌源于奇瑞量子汽车有限公司,2017年被宝能集团收购控股权。2025年12月22日,观致汽车的破产清算程序正式启动,江苏省苏州市中级人民法院受理了相关申请,标志着该公司进入司法清算阶段。
【未经授权,严禁转载!联系电话028-86968276】

深圳市宝能投资集团有限公司。
人民法院依法执行
宝能集团
被执行总金额达494.49亿元,差一点500亿了,估计只能走破产了!