眉山国资有望以约10.86亿元取得一家上市公司的实际控制权。
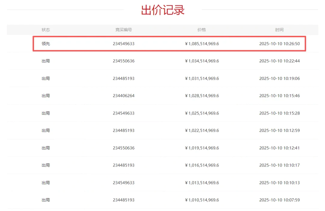
10月10日晚间,精艺股份(002295.SZ)公告称,控股股东南通三建控股有限公司(下称“三建控股”)所持有的公司7518.47万股,占总股本的29.99996%的股票已被司法拍卖。竞得人为四川兴东投资集团有限公司(下称“四川兴东”),成交价格为1,085,514,969.60元。若本次股份拍卖完成,三建控股将不再持有公司股份,公司控股股东、实际控制人发生变更。

公开信息显示,四川兴东为眉山市东坡区区属一级公司,注册资本30亿元,旗下涵盖下属公司20家,其中二级公司4家(主体信用评级AA+公司1家),资产总额839亿元。四川兴东秉持聚焦主业、转型开放的理念,全力打造产业型投资集团,公司经营涵盖投资运营、文化科技综合服务、新能源、大健康、园区开发运营及城市基础设施建设六大业务板块。
据京东网司法拍卖平台信息显示,本次精艺股份7518.47万股股票的起拍价,定为拍卖日(2025年10月9日,不含当日)前20个交易日收盘价均价的90%。最终,该标的以10.86亿元价格落槌成交,较7.8亿元的起拍价高出近40%,折合每股约14.44元。
川商传媒记者注意到,在竞拍过程中,四川兴东在最后一轮出价表现尤为果断,不惜以较高价格锁定标的——其最后一笔加价高达5000万元,令其他竞拍方望而却步。

图源:京东网司法拍卖平台

精艺股份原董事长黄裕辉
身陷多起经济纠纷
被纳入失信被执行人名单
值得关注的是,本次被拍卖的精艺股份29.99996%股权为三建控股持有的全部公司股份,且目前已全部处于质押/司法冻结状态。此外,三建控股已被纳入失信被执行人名单,其董事长和第一大股东均为黄裕辉。

黄裕辉 图源:三建控股官网
6月24日,精艺股份收到广东证监局出具的《关于对广东精艺金属股份有限公司采取责令改正措施并对黄裕辉等采取出具警示函措施的决定》。
经查,广东证监局发现精艺股份存在以下违规行为:一是未按规定披露公司实际控制人、董事长失信情况。二是公司董事长不具备任职资格。据悉,精艺股份实际控制人、董事长黄裕辉被多地人民法院纳入失信被执行人名单。

企查查显示,截至目前,黄裕辉身为被告涉及的案件数量达73件,案件金额达44.65亿元;存在多条失信被执行人记录,被执行总金额达5.81亿元。
监管介入后,黄裕辉火速辞职。6月25日,精艺股份收到公司董事长黄裕辉的书面辞职报告。因个人原因,黄裕辉申请辞去公司董事、董事长及董事会战略与投资委员会主任委员、提名委员会委员职务。
7月14日,精艺股份召开第八届董事会第六次会议,经审议通过,由财务总监顾冲接任董事长一职。简历显示,顾冲出生于1980年,本科,高级会计师。在加入精艺股份前,他曾在三建控股担任财务负责人及董事长助理等职。

精艺股份上半年增收不增利
业务核心聚焦铜加工产业
半年报显示,精艺股份于1999年在广东顺德北滘镇创立,是一家多元化发展的企业,业务核心聚焦铜加工产业,同时结合自身产业特点探索能源与碳管理相关实践。
2025年上半年,精艺股份实现营业收入23.81亿元,同比增长38.80%;归母净利润1085.91万元,同比下降42.95%。

二级市场方面,截至10月10日收盘,精艺股份下跌9.37%,报14.71元/股,总市值36.87亿元。
丨来源:川商传媒报道丨
★★★郑重免责声明★★★
本文不构成任何投资建议!文中所有观点仅代表被采访者个人立场及个人观点,不具有任何指导和买卖意见!股市有风险,投资需谨慎!
【未经授权,严禁转载!联系电话028-86968276】

依法管理。