作为很多上班族的自称,打工语录不断被网友改编,越来越多的人发起了打工语录。然而,在全民玩梗的同时,却有嗅觉灵敏的商家瞄上了这一热词。最近,“打工人”一词火了,不仅频频登上热搜,刷爆朋友圈,还成为朋友之间打招呼的新方式。
披星戴月早出晚归,努力为老板赚钱,压力大身体不好了……很多人看后,发出感叹,这不就是我嘛!大伙儿感同身受,于是纷纷拿起社交软件,开始创作“打工人”表情包、段子,随着话题热度越来越高,“打工人”一词迅速出圈。

在大伙儿创作的同时,一些嗅觉灵敏的人也盯上了“打工人”。
金妹儿发现,“早安打工人”已被两家位于广州的公司申请注册为商标。天眼查显示,率先申请“早安打工人”商标的为广州执品贸易有限公司,申请时间为2020年10月20日,国际分类为第25类服装鞋帽,商标目前在注册申请状态。

公开资料显示,广州执品贸易有限公司成立于2017年11月,注册资本50万元人民币,经营范围包含商品批发贸易;文具制造等。
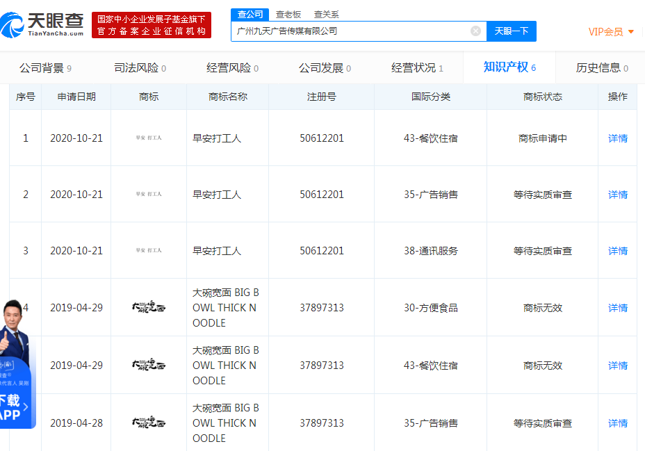
无独有偶,金妹儿发现,广州九天广告传媒有限公司则在次日也申请注册“早安打工人”这一商标。同时包括餐饮住宿、广告销售、通讯服务这三类,状态则显示为:商标申请中及等待实质审查。

值得关注的是,广州九天广告传媒有限公司还在去年4月申请了“大碗宽面”这一商标。
众所周知,“大碗宽面”最早源自2017年吴亦凡参加一个综艺节目的一个梗。随后在2019年4月,吴亦凡创作了一首中国风歌曲《大碗宽面》,刮起旋风,还带起了不少社会话题。而广州九天广告传媒有限公司也正是在去年4月申请的这一商标,即使最终被认定为商标无效、等待实质审查,但广州九天广告传媒有限公司傍热点的特质也一览无遗。除了上述两家公司外,金妹儿还发现一家名为 “即墨区打工人小卖部”的个体户位于山东青岛市,成立于10月28日,经营范围为食品经营等。此外,类似“打工人”被注册的还有“打工仔”、“打工一家人”、“打工妹”、“打工兄弟”、“打工爷们”、“打工客”、“打工皇帝”、“打工管家”、“打工太子”等商标。几乎每年国家语言资源监测与研究中心发布“20XX年度十大网络用语”后,一些简短好记的热词就会成为抢注商标的目标。比如2019年度十大网络用语:不忘初心;道路千万条,安全第一条;柠檬精;好嗨哟;是个狼人;雨女无瓜;硬核;996;14亿护旗手;断舍离。“不忘初心”、996等被抢注商标。截至目前,金妹儿在天眼查发现,带有“不忘初心”名称的公司高达733家,而“996”还被网易抢注。事实上,网络热词通常自带流量,具备传播范围广、传播速度快的特性。如果企业借势营销,恰到好处的利用网络热词的力量,能够起到很好的宣传推广作用。然而,网络热词注册也并非都能行得通。部分词汇不具有显著性,或存在“负能量”,可能注册不成功。网络热词注册商标的前提是,必须是遵守商标法相关规定,不能伤害社会主义道德风尚或有其他不良影响。除了合法性,还需要考虑商标是否具有显著性,是否有近似商标,否则很容易被驳回!《商标法》里面明确的规定,商标不得违反《商标法》及其他法律的要求。其合法性审查主要体现为违反第十条第一款第(八)项“有害于社会主义道德风尚或者有其他不良影响的”情形。这种不良影响是对价值观、道德观等不正面形象,影响了社会的良好风气及带来负面影响。比如,新冠肺炎疫情发生后,一些企业或个人打起了用“火神山”“雷神山”“瑞德西韦”“李文亮”及包含“新冠”字样等与疫情相关的“关键词”申请注册商标的歪主意。国家知识产权局商标局及时出击,综合运用法律规定集中予以驳回。另外,随着国家知识产权局加大对“恶意注册行为”的规制,大量恶意抢注、扰乱市场经济秩序和商标管理秩序的行为将被严厉打击。所以,想蹭热点的商家或个人,还不如老老实实潜下心来打造品牌!
【未经授权,严禁转载!联系电话028-86968276】