澎湃新闻记者 祝文博 编辑 唐燕丽实习生 曹星雨
250万粉丝的医学博主“李博士”称其产品一瓶顶医院5针,实际销售的产品是食品。称是哈佛大学6年的研究成果,展示的论文却出自国内。“李博士”向记者表示,确实有不合规的地方,想给记者表示表示。
“一瓶一个月,顶你打五针”“非变性Ⅱ型胶原蛋白补软骨是根本,这个是哈佛大学花了六年时间才研究出来”……又见把压片糖果、运动食品当成药物来卖的直播间,“3·15”的热度还没有过去,又有消费者反映,家里老人遭遇了直播间卖药骗局。
250多万粉丝、身着白大褂,博主“李博士”有两个账号,主页介绍到,“在读医学博士,主攻关节外科,8年临床经验”。
“李博士”有两款主推产品,一款是非变性Ⅱ型胶原蛋白壳寡糖复合片,另一款叫做透明质酸钠非变性Ⅱ型胶原蛋白,这两款产品经常搭配销售,直播间和评论区里有大量的中老年人给予好评。
消费者何女士反馈,家里老人因为信任“李博士”,放弃医院正规治疗了,认为吃了这个产品腿就能好。
“李博士”的直播间很多人都在寻医问药,膝盖变形、半月板损伤,“两个产品吃了很快就能变好”。
记者特意买了“李博士”主推的一款产品“非变性Ⅱ型胶原蛋白”并拆箱:产品发货地在河南三门峡市湖滨区,这与其网店营业执照上的地址一致;包装显示系耐力类运动营养食品,不是保健品,更不是药品;研发公司为利玺增(香港)国际制药有限公司;侧面产品类型写了运动营养食品,耐力类,适宜人群是中长跑、慢跑、快走等运动人群,和广告里宣传的治疗膝盖疼等症状的中老年人并不相符。
另外一款透明质酸的产品,包装上则写明是压片糖果。
何女士告诉记者,她每次向市监局投诉后,“李博士”的网店都会换一个营业执照,从康达日用百货店(经营者“李博士”本人)到助益增康商行(经营者杨某某),目前是术博仕商行(经营者杨某某)。
记者查询最新信息发现,“李博士”宣称的香港制药公司研发,公司股东和董事长都是“李博士”,同时他本人100%持有这个公司股份,股份总数10000HKD,换算成人民币不到9000块,公司成立的时间在去年3月25日。
记者购买的这款产品包装显示生产厂家是山东科举药业,但评论区有人晒出的照片显示,还有另一个生产企业——山东健康源生物工程有限公司,这两个企业属于高新技术企业、专精特新中小企业等。
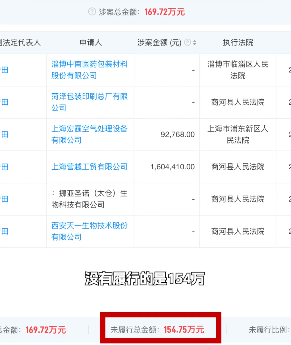
天眼查显示,健康源公司曾18次成为被执行人,被执行总金额为658万余元;6次被限制消费,被执行总金额为169.72万元,未履行金额为154.75万元。2020年和2021年,该公司曾有多次食品抽检被责令整改记录。2025年12月29日,因生产经营超范围、超量使用食品添加剂,该公司被罚没4.6万元。
山东科举药业曾在2022年到2024年市监局的抽查检查中,被责令整改。
记者在两家企业的商品类目中搜索,都没有发现这款产品。科举药业回应澎湃新闻,这款产品只是普通的食品,“李博士”提供配方并委托生产。
在“李博士”直播间,几位主播推介了一篇宣称来自哈佛大学的论文,论文结论为Ⅱ型胶原蛋白能诱导软骨细胞生长。
澎湃新闻查询发现,该论文其实出自2020年《医用生物力学》期刊,作者来自杭州师范大学和农业部规划设计研究院,论文结论并非是非变性Ⅱ型胶原蛋白可以诱导软骨细胞生长,而是该物质可以改善关节活动角度和疼痛感。
在主播用大字遮挡之处,原论文赫然写着“实验地点为杭州师范大学某教学中心”。
口服透明质酸钠、非变性Ⅱ型胶原蛋白到底能不能替代药物,通过网络问诊,多名骨科专家表示,这种产品不能代替药物,口服吸收有限,不能代替注射,软骨磨损用药可以改善,但不能根治,只能注意保护膝盖,才能延缓病情。
<span leaf="" style='color: rgba(0, 0, 0, 0.9);font-size: 16px;font-family: mp-quote, "PingFang SC", system-u
【未经授权,严禁转载!联系电话028-86968276】
