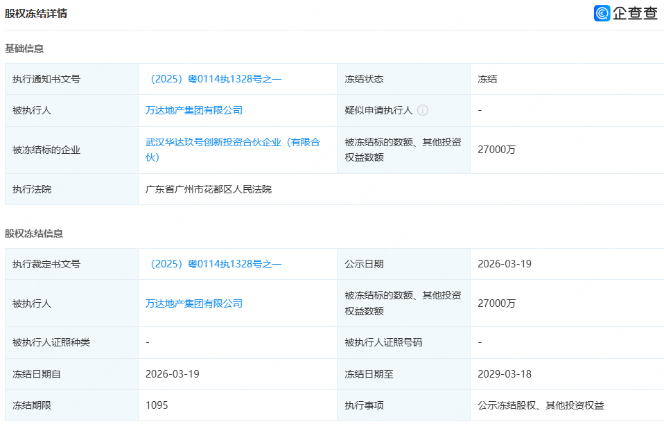
据企查查,万达地产集团有限公司(以下简称“万达地产”)于3月19日新增一则股权冻结信息,股权所在企业为武汉华达玖号创新投资合伙企业(有限合伙),冻结股权数额2.7亿元人民币,冻结期限3年,执行法院为广东省广州市花都区人民法院。

同日,因商品房预售合同纠纷一案,万达地产及其法定代表人刘诗文还新增三条限制消费令,执行法院为上海市浦东新区人民法院。

截至目前,万达地产现存89条被执行人信息,被执行总金额已超过24亿元。此外,该公司还存在281条限制消费令、12条失信被执行人信息,以及223条终本案件信息。

万达地产成立于2018年2月,注册资本40.5263亿元。该公司由深圳迪讯实业有限公司持股98.7013%,富泰(香港)投资有限公司持股1.2987%。
据企查查数据,万达地产与王健林创立的大连万达集团(以下简称“大连万达集团”)没有直接或者间接的股权关系,但是其多名高管在大连万达集团任职。其中,万达地产的董事、经理黄国斌在大连万达集团担任董事,万达地产的董事和财务负责人韩旭在大连万达集团和大连万达商业管理集团担任董事,万达地产的监事刘铭石在大连万达集团和大连万达商业管理集团也担任相关职务。
丨来源:川商传媒报道丨
★★★郑重免责声明★★★
本文不构成任何投资建议!文中所有观点仅代表被采访者个人立场及个人观点,不具有任何指导和买卖意见!股市有风险,投资需谨慎!
【未经授权,严禁转载!联系电话028-86968276】

人民法院依法执行。