川商传媒 苏竹青报道
手握四川锂矿资源、身家近百亿的矿业大佬,急速驰援西贝!
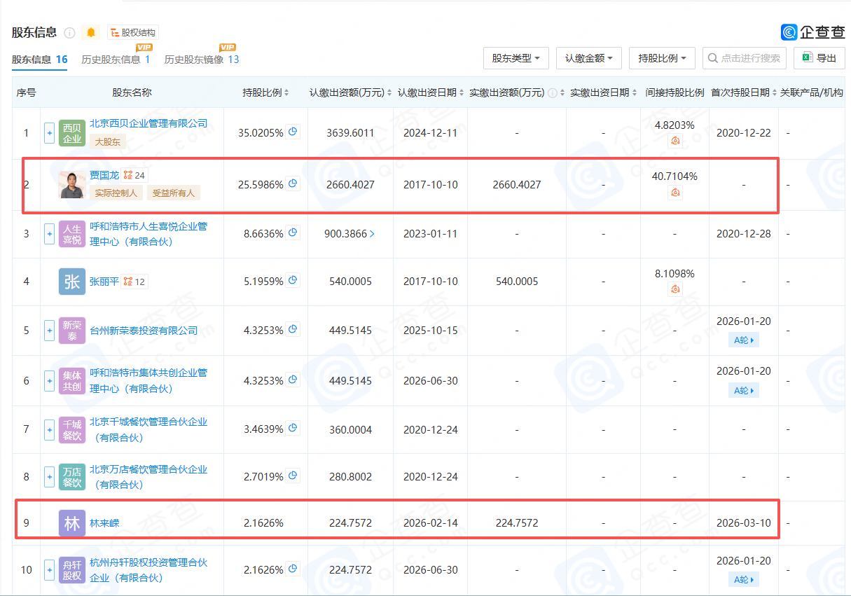
3月16日,内蒙古西贝餐饮集团有限公司(以下简称:“西贝”)发生工商变更,新增林来嵘为自然人股东,注册资本由约1.02亿元人民币增至约1.04亿元人民币。此次增资后,林来嵘持有西贝2.1626%的股份,位列公司第十大股东。
这场跨界投资既有同乡资本驰援的温情,也折射出中高端餐饮在行业调整期的资本渴求与转型压力,更为西贝推进预制菜等业务升级注入新的想象空间。
同乡驰援 矿业大佬跨界入局
公开资料显示,林来嵘是众兴集团创始人,同时也是A股上市公司大中矿业(001203)的实控人。据胡润研究院发布的《2026胡润全球富豪榜》,林来嵘与安素梅夫妇以280亿元的财富,排名第1166位。
大中矿业2025年半年报显示,公司所属行业为固体矿产资源采选行业,主营业务为铁矿石采选、铁精粉和球团生产销售、副产品为机制砂石及硫酸的加工销售,主要产品为铁精粉和球团。报告显示,大中矿业在坚定铁矿主业的同时,加快推动湖南鸡脚山锂矿和四川加达锂矿两大锂矿的开发建设,即将形成公司新的利润增长点。公司湖南鸡脚山锂矿通天庙矿段及四川加达锂矿首采区经自然资源部评审备案的锂矿折合碳酸锂当量超472万吨,资源量在国内处于领先地位,且未来增储空间较大。丰富且优质的铁、锂资源,为公司的可持续发展奠定了坚实的基础。
不过,在这笔投资中,林来嵘并未选择以公司的名义投资,而是直接用自然人身份进行了投资,成为西贝前十大股东中为数不多的自然人股东。据了解,林来嵘与西贝创始人贾国龙有着地域渊源,二人同为内蒙古老乡。
业内人士表示,西贝融资可能是为了扩大业务规模或进行战略投资,以增强市场竞争力。
此次引入林来嵘,是西贝在短短两个月内启动的第二轮资本引资动作。早在1月20日,内蒙古西贝餐饮集团有限公司发生工商变更,新增台州新荣泰投资有限公司、呼和浩特市集体共创企业管理中心(有限合伙)、杭州舟轩股权投资管理合伙企业(有限合伙)等为股东,同时,注册资本由约8990.3万元人民币增至约1.02亿元人民币。其中,台州新荣泰投资有限公司是台州菜新荣记旗下投资基金,该公司法定代表人张勇,持股100%,其也是新荣记创始人。此次新一轮融资完成后,原有股东中,西贝创始人贾国龙直接持有25.5986%的股份,认缴出资额超过2660万元,仍为实际控制人、受益所有人。
值得注意的是,来自成都的产业资本也参与了本轮融资。投资方之一的成都迅达光电有限公司,是成都知名光学元件企业——成都晶华光电科技股份有限公司(证券简称“晶华光电”)的全资子公司。
此前报道:
两笔四川资本入局西贝:光学元件父子跨界投资!新潮传媒2025年前9月浮亏7480万元→

西贝多次资本引资的背后,是其凸显的经营困境。2026年初,西贝正式宣布大规模关店,计划关闭超百家门店,占总门店数近四成。此外,公开报道显示,西贝总部在2月初通知门店管理层,将原本于3月10日发放的2月份工资延迟至3月底发放;同时,门店店长和厨师长的薪资全部下调30%。
专家分析:或成为西贝转型契机
中国食品产业分析师朱丹蓬认为,餐饮行业正面临严峻的市场挑战,中高端餐饮消费场景遭受剧烈冲击,消费者对高性价比品牌的偏好持续凸显,市场需求结构的转变倒逼行业格局重构。
“西贝此次陷入经营困境,核心矛盾并非单纯源于其长期以来的中高端定价策略,还包括与消费者的沟通缺失,未能及时、清晰地向市场传递相关信息,成为引发信任危机的关键节点。但需要明确的是,西贝关店潮的背后,折射的是整个中高端餐饮赛道的系统性压力。从宏观环境来看,近年来包括头部品牌在内的中高定位餐饮企业普遍遭遇增长瓶颈,市场竞争的白热化与消费需求的理性化形成双重挤压。”
由此可见,西贝关闭百余家门店、缓发员工薪资等经营调整,凸显了中高端餐饮在市场转型期的集体焦虑。
朱丹蓬分析,值得关注的是,在经营困境尚未完全缓解的背景下,西贝仍获得资本注入,这一现象背后蕴含双重逻辑:一方面,资本对企业长期积累的行业资源与品牌基础存在情感认同与商业价值层面的考量;另一方面,更核心的驱动因素在于政策红利的预期——中国预制菜行业标准有望于年内正式出台,这一政策落地将为长期深耕中高端赛道、布局预制菜业务的西贝提供规范化发展的契机,资本或基于行业标准完善后的市场空间,看好其后续转型潜力。
他认为,西贝的发展波折是餐饮行业结构性变革的缩影。在消费升级与消费理性化并存、政策调控与行业规范同步推进的当下,中高端餐饮企业的突围不仅需要解决自身经营策略的适配性问题,更需顺应行业发展趋势,在标准化建设、消费沟通、场景创新等维度实现突破,而资本的持续介入,也为行业在调整期的转型升级提供了更多的可能性。
【未经授权,严禁转载!联系电话028-86968276】
