11月5日,川商传媒记者从成都市公共信用信息中心网站获悉,四川野马汽车股份有限公司(下称“野马汽车”)于近日因通过登记的住所或者经营场所无法联系,被成都市龙泉驿区市场监督管理局列入经营异常名录。

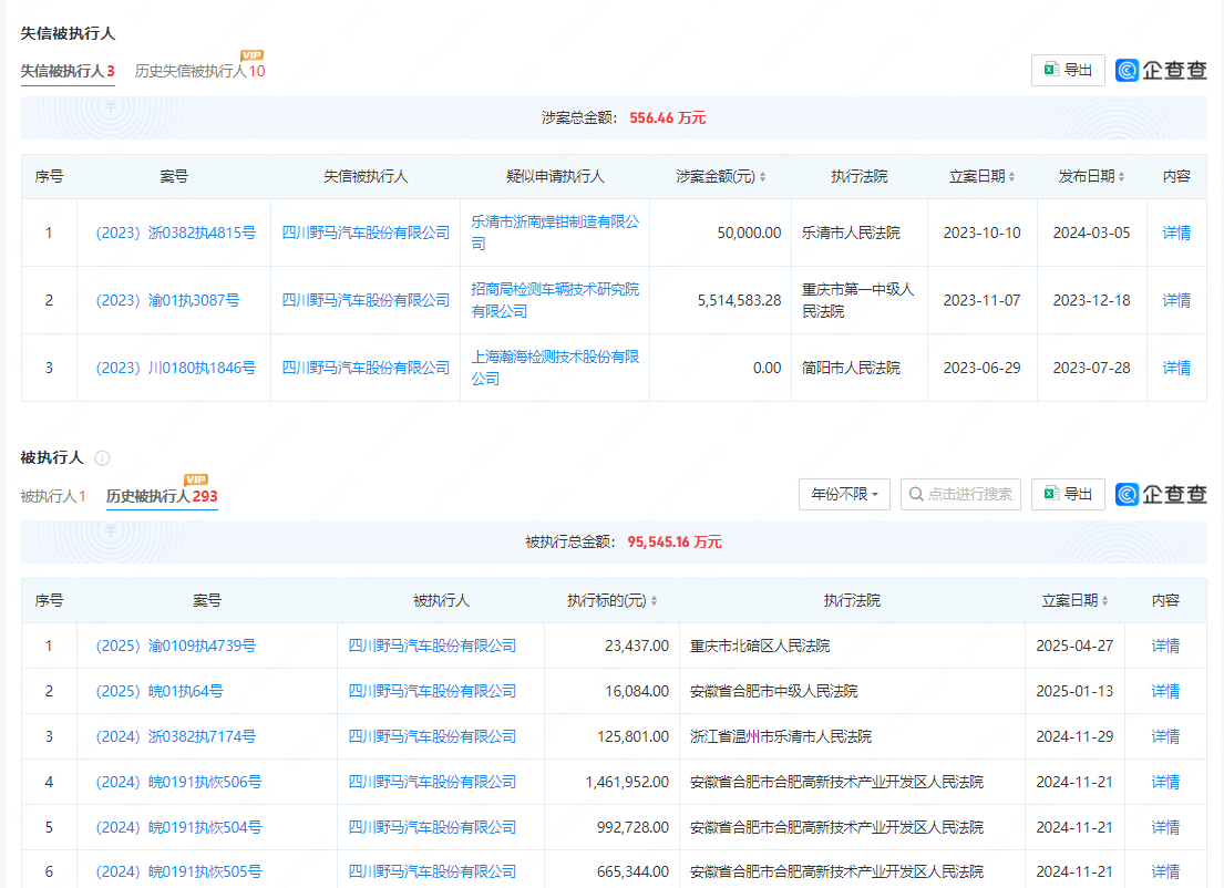
另据企查查显示,10月23日,野马汽车新增一则被执行人信息,执行标的41.4万元,执行法院为四川省成都市简阳市人民法院。值得关注的是,该公司还存在多条限制消费令、失信被执行人及终本案件信息,历史被执行总金额超9亿元。

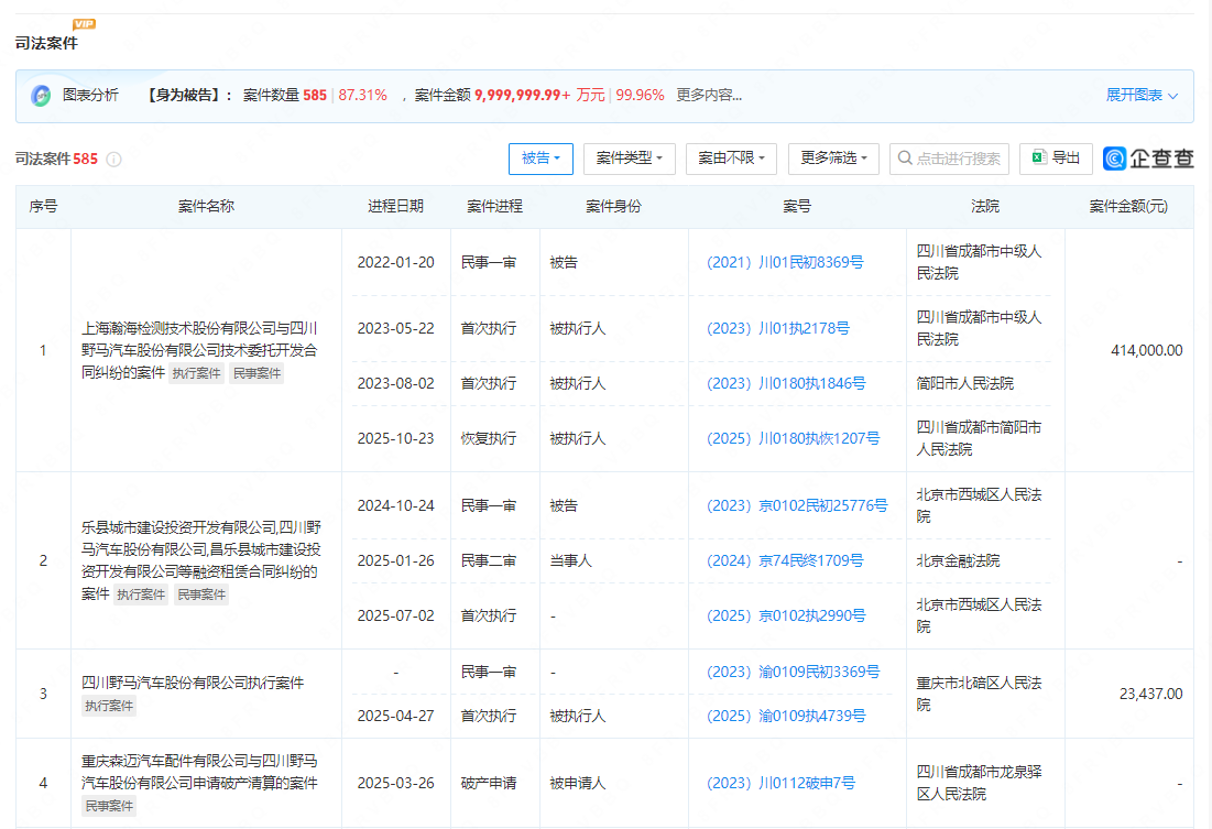
此外,企查查显示,野马汽车身为被告的司法案件多达585个,涉案金额或超百亿元,面临严峻的司法风险。

市场端的表现同样惨淡。记者查询相关购车APP后发现,野马汽车旗下23款车系已全部显示停售;其公司官方网站亦无法访问,显示“无法找到该页面”。从产品退出市场到渠道失联,野马汽车的运营几近停摆。


雷丁汽车破产连锁反应
野马汽车易主广东云鹰
公开资料显示,野马汽车前身为四川汽车工业集团公司,2011年经股份重组后更名,法定代表人为李世伟,注册资本26亿元,经营范围含汽车制造与销售及售后服务,汽车研发,新能源汽车的技术开发、转让、咨询及技术服务,汽车项目投资,汽车租赁等。股东信息显示,该公司由雷丁汽车集团有限公司(下称“雷丁汽车”)、比德文控股集团有限公司共同持股。股权穿透后,野马汽车实际控制人为陆阳富。

野马汽车当前的困境,与其控股股东雷丁汽车密切相关。
据公开报道,雷丁汽车成立于2008年,最初以低速电动汽车起家,凭借其产品在农村和三四线城市的广泛适用性,迅速占领市场。2019年,雷丁汽车以14.5亿元收购野马汽车,获得了新能源汽车、传统燃油乘用车、客车的生产资质,实现了从低速新能源汽车向高速新能源汽车的转型,在山东潍坊、四川成都、四川绵阳等地建有整车生产基地、造型设计和工程研发中心。
然而,2023年5月,雷丁汽车因资金链断裂宣布破产。2024年2月,山东省昌乐县人民法院依法裁定受理雷丁汽车集团有限公司重整,并于4月30日,对雷丁汽车公司等二十家关联公司进行了实质性合并重整。同年5月6日,昌乐法院指定北京德恒律师事务所、四川发现律师事务所担任雷丁汽车集团管理人,为公开招募重整投资人做准备。
2025年6月,来自广东的云鹰汽车制造集团有限公司接盘了雷丁汽车的控股股东比德文控股集团有限公司,野马汽车再次易主。

谋求智能化转型
野马汽车合资成立多家公司
尽管身处危机,野马汽车并未停止业务上的尝试。
今年7月,野马汽车与北京汽车制造厂(成都)有限公司成立了3家合资公司,分别为:野马巴顿(四川)汽车科技有限公司、野马巴顿(四川)专用车制造有限公司、野马巴顿重型汽车(四川)有限公司。这三家企业的股权结构一致,均由野马汽车持股51%,北京汽车制造厂(成都)有限公司持股49%。此外,三家公司法定代表人同为李世伟,注册资本均为3000万元,注册地址也完全相同。
紧接着在今年8月25日,云界智能汽车(成都)有限公司于成都经济技术开发区龙泉驿区注册成立,注册资本2480万元。工商信息显示,该公司由深圳康湖新能源交通发展有限公司、野马汽车、四川华鸿智造科技有限公司及中创投资(广东)集团有限公司分别持股35%、25%、20%及20%。其经营范围含计算机系统服务、大数据服务、数据处理和存储支持服务、智能无人飞行器销售、船舶销售、人工智能行业应用系统集成服务、人工智能硬件销售、人工智能基础软件开发、智能机器人的研发等。
在母公司破产阴影与自身经营困境的双重压力下,野马汽车仍通过合资合作向市场传递出强烈的自救与转型信号。然而,在激烈的市场竞争和自身沉重的历史包袱下,这些努力能否带领野马汽车走出困境,仍需市场与时间的检验。
丨来源:川商传媒报道丨
★★★郑重免责声明★★★
本文不构成任何投资建议!文中所有观点仅代表被采访者个人立场及个人观点,不具有任何指导和买卖意见!股市有风险,投资需谨慎!
【未经授权,严禁转载!联系电话028-86968276】
